<img height="1" width="1" style="display:none;" alt="" src="https://px.ads.linkedin.com/collect/?pid=7483292&amp;fmt=gif">
Products
Products
Back to Main

LOOKING FOR WESTERN RIB® (7.2 PANEL) INSTALLATION VIDEOS?

Gutter FOR WESTERN RIB® (7.2 PANEL)

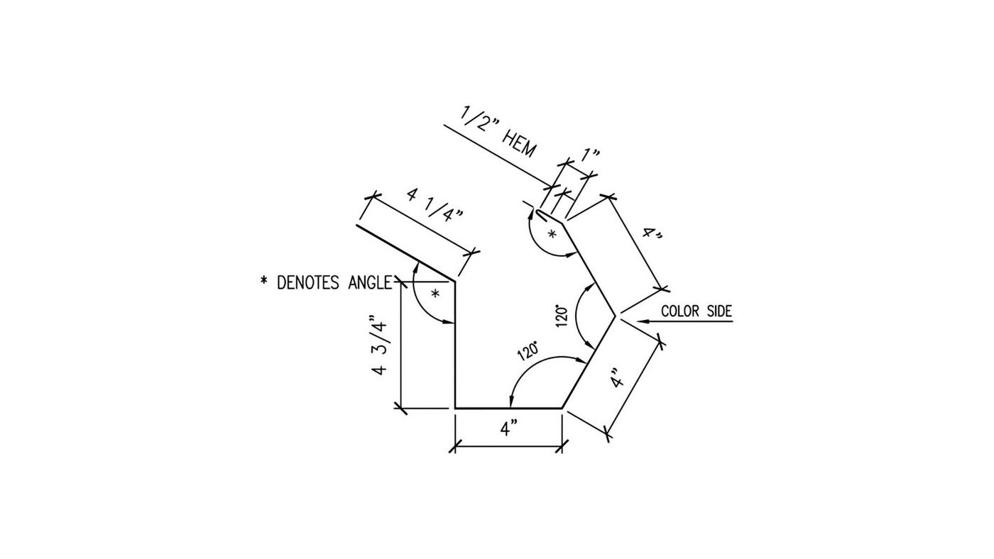
Pre-Hung Sculptured Gutter - Part #WS-301

A pre-hung gutter is a gutter that’s installed prior to the installation of the roof. Its purpose is to divert water off the roof and away from the walls and foundation of a building. When used on a metal roof, it’s a more weather-tight system than a gutter installed after the roof installation.

WS-301 - PARTS LIST

This parts list is designed to help you calculate the quantity of accessories that you’ll need for your trim installation. It has all of the accessories that are needed to install 1 full piece of trim, which is 120" long. To calculate the total number of accessories you will need for your job, simply take the number of trim pieces associated with the trim part purchased and multiply the list by that number for a total for your project.

COMPONENTS LIST

  • 1 Piece Pre-Hung Sculptured Gutter - WS-301
    Roof Pitch Required
  • 4 Pieces Gutter Strap- WS-331
  • 2 Pieces Gutter End Caps - WS-314
    You Will Need 1 Left & 1 Right At Gutter Ends
  • 8 Lap Screws (Metal to Metal) With Sealant Washer
  • 10 Pancake Head Screws (#10X1") NO Washer
  • 8 Rivets
  • 10 Linear Feet Of 8" Wide Sharkskin Ultra SA - Self Adhesive Roofing Underlayment
  • 1/4 Tube Silicone Sealant

    If you have more than one piece of gutter for each gutter run then it will require the following additional pieces:

  • Gutter Splice - WS-313
  • 9 Rivets
How To Install Pre-Hung Box Gutters

Gutter Installation Video

Step by step pre-hung box gutter installation instructions that includes downspout outlet, end caps, gutter splice, and fastening. This video covers an exposed fastener metal roofing panel.

Additional Gutter And Downspout Installation Videos

Image

Downspout Outlet/Dropout Installation

Step by step installation instructions that show you how to attach downspout drop outlet to a gutter system.

Watch Now

Image

Gutter Strap Installation

Step by step installation instructions for gutter strap installation.

Watch Now

Image

Post-Hung Gutter Installation

Are you installing gutters on a metal roof after the roof is already installed? Post hung box gutters are a good solution for adding gutters to a metal roof.

Watch Now

Image

Downspout Installation

Step by step downspout installation instructions that include elbows, downspout strap, and fastening.

Watch Now